Rilievo sperimentale della curva di riscaldamento

E' possibile per gli avvolgimenti percorsi da corrente continua, come sono gli avvolgimenti di eccitazione delle macchine in corrente continua o degli alternatori.

Si misura dapprima, a macchina fredda, il valore R1 della resistenza a freddo dell'avvolgimento e la temperatura T1 dell'avvolgimento nelle stesse condizioni; allo scopo si adotterà un adeguato metodo di misura in corrente continua badando a che la corrente di misura sia tale da produrre (per effetto Joule) un riscaldamento trascurabile nell'avvolgimento e quindi utilizzando una corrente di misura non superiore ad 1/10 della corrente nominale dell'avvolgimento.

Quindi si realizzano le condizioni di carico nominale della macchina, si aspetta che questa raggiunga la temperatura di regime e si misura la resistenza R2 dell'avvolgimento e la temperatura ambiente Ta , tutto questo è possibile senza distaccare il carico in quanto la corrente nell'avvolgimento è continua e, quindi, basterà predisporre il solito circuito voltamperometrico.

Mediante le espressioni (**) si calcola quindi la massima temperatura raggiunta dall'avvolgimento T2max e la massima sovratemperatura rispetto all'ambiente DTmax. La sovratemperatura massima così misurata andrà confrontata con quella limite DTlim riportata nelle tabelle CEI già viste, considerando ovviamente l'eventuale diverso valore tra la temperatura ambiente di prova Ta e la temperatura ambiente di riferimento cui le sovratemperature limite delle tabelle CEI fanno riferimento.

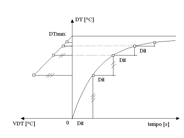
Per rilevare meglio il raggiungimento della condizione di regime termico (si ricorda che per macchine destinate al servizio continuo è sufficiente che le sovratemperature nelle varie parti della macchina non varino più di 2 [°C] in un'ora ) conviene tracciare la curva di riscaldamento DT = f(t) rilevando, in vari istanti, il valore della resistenza R2 e risalendo ai valori di sovratemperatura mediante le (**). Tale curva ha un andamento pressoché coincidente con quello teorico esponenziale crescente.

Per le macchine destinate al servizio continuo od intermittente, le norme CEI suggeriscono un procedimento di estrapolazione grazie al quale, pur arrestando la prova appena raggiunta la condizione di una variazione di sovratemperatura inferiore ai 2 [°C] per ora, è possibile determinare la massima sovratemperatura a regime dopo un tempo infinito. Il metodo si fonda sulla supposizione che la sovratemperatura vari esponenzialmente nel tempo :

si misurano le variazioni di sovratemperatura VDT e le sovratemperature DT ad intervalli di tempo costanti Dit , questo si può fare leggendo il grafico DT = f(t) . Quindi si riportano su di un sistema di assi coordinati i valori di VDT (in ascissa) e di DT (in ordinata), ottenendo una serie di punti praticamente allineati su di una retta a pendenza negativa. Estrapolando la retta fino alla intersezione con l'ordinata si otterrà la sovratemperatura dopo un tempo infinito DTmax.

Se non si desidera tracciare la curva di riscaldamento, si tenga presente che il tempo necessario alla macchina, in condizioni di potenza nominale, per raggiungere la temperatura di regime è 4 o 5 volte la sua costante di tempo. A puro titolo orientativo si può considerare che la costante di tempo valga 0,5 ÷ 1,5 ore per macchine rotanti, 1 ora per i trasformatori a ventilazione forzata, 2 ÷ 3 ore per trasformatori a raffreddamento naturale, 1 ÷ 2,5 ore per trasformatori in olio a raffreddamento forzato, 2 ÷ 4 ore per trasformatori in olio a raffreddamento naturale.

Macchine asincrone
Programma per la classe quinta
Home Page