Misura di potenza reale, wattmetro

Nel caso di circuiti in corrente continua, la misura della potenza assorbita da un utilizzatore è riconducibile ad una misura di tensione e di corrente essendo per la legge di Joule P = V·I [W]. Quindi basta approntare una normale inserzione voltamperometrica e tenere conto dell'autoconsumo dello strumento inserito a valle:

voltmetro a valle:

amperometro a valle:

dove Vm [V], Im [A] sono i valori misurati di tensione e corrente, mentre RV [W], RA [W] sono le resistenze interne del voltmetro e dell'amperometro.

Nel caso di circuiti in corrente alternata il prodotto dei valori efficaci V , I della tensione e della corrente non è sufficiente a definire la potenza reale (potenza attiva) in watt, ma definisce solamente la potenza apparente in voltampere. Per ottenere la potenza reale bisogna moltiplicare ancora per il fattore di potenza cosj (dove j è l'angolo di sfasamento tra la tensione e la corrente). La stessa espressione si può interpretare come il prodotto scalare tra i vettori ed :

Per quanto riguarda il prodotto scalare tra due vettori è bene ricordare che esso gode di tutte le proprietà dei prodotti algebrici ed in particolare delle tre proprietà associativa, distributiva e commutativa.

Quindi, per misurare la potenza reale in corrente alternata sono necessari un voltmetro, un amperometro ed un fasometro (misura il f.d.p.) ed è poi necessario eseguire il prodotto delle tre grandezze misurate. Si verrebbe così a propagare un errore di misura pari alla somma degli errori relativi delle tre singole determinazioni.

Per questo motivo la potenza reale nei circuiti in corrente alternata non viene mai determinata attraverso la misura dei singoli fattori, ma viene sempre misurata nel suo complesso mediante un unico strumento a lettura diretta denominato wattmetro (che, se di tipo tradizionale elettromeccanico, è nelle forme più pregiate uno strumento elettrodinamico):


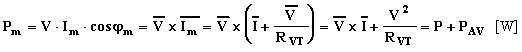
La figura in alto a sinistra mostra l'inserzione di un wattmetro in un sistema monofase. Si osserva la presenza di quattro morsetti, due amperometrici (indicati con ma) e due voltmetrici (indicati con mv). Ai morsetti amperometrici fa capo l'equipaggio amperometrico fisso, ai morsetti voltmetrici fa capo l'equipaggio voltmetrico mobile, inoltre per ciascuna delle due coppie il morsetto d'ingresso è opportunamente contrassegnato. Si osserva che nell'esempio l'equipaggio amperometrico è inserito a valle rispetto quello voltmetrico (che, quindi, si dice inserito a monte).

I dati caratteristici più significativi dello strumento sono:

1) classe di precisione Cl che determina nella misura della potenza un errore strumentale pari a:

dove PW [W] è la portata di fondo scala del wattmetro.

2) errore d'angolo e [rad] che determina nella misura della potenza un errore di fase pari a , dove j espresso in gradi sessagesimali (°) è l'angolo di sfasamento tra la tensione applicata all'equipaggio voltmetrico e la corrente che attraversa l'equipaggio amperometrico (tale errore è sensibile solo nelle misure di potenza in circuiti fortemente reattivi).

3) massima frequenza di impiego.

4) portata in corrente dell'equipaggio amperometrico PA [A].

5) resistenza interna amperometrica RAW [W] (qualche decimo di ohm). La componente reattiva di tale circuito è trascurabile.

6) portata in tensione dell'equipaggio voltmetrico PV [V].

7) resistenza interna voltmetrica RVW [W] (qualche decina di migliaia di ohm). La componente reattiva di tale circuito è trascurabile.

8) cosjW del wattmetro per basso cosj. Normalmente cosjW =1, ma per i wattmetri a molla antagonista indebolita necessari per la misura di potenza in circuiti fortemente reattivi tale parametro può assumere valori molto piccoli (tipicamente 0,1 o 0,2).

9) portata in potenza del wattmetro, PW = PA·PV· cosjW [W].

10) divisioni di fondo scala dFS.

11) costante strumentale .

Il wattmetro deve sempre essere inserito accompagnandolo con un voltmetro ed un amperometro, questo per assicurarsi di rispettare le portate dell'equipaggio voltmetrico e dell'equipaggio amperometrico.

Con l'esclusione dei wattmetri per basso cosj, quasi sempre l'equipaggio voltmetrico sopporta sovraccarichi del 50% mentre l'equipaggio amperometrico del 100%, in ogni caso è bene verificare controllando le caratteristiche dello strumento che si sta impiegando.

Insieme all'errore strumentale ed all'errore di fase, dipendenti dalla classe di precisione e dall'errore d'angolo, un'altra importante causa di errore nelle misure di potenza è costituita dall'autoconsumo delle bobine del wattmetro e degli altri strumenti inseriti. Per valutare tale errore occorre distinguere tra i due possibili schemi di inserzione noti come inserzione con le voltmetriche a monte ed inserzione con le voltmetriche a valle.

Inserzione con le voltmetriche a monte


L'inserzione è così chiamata perché il voltmetro e l'equipaggio voltmetrico del wattmetro sono derivati a monte (con riferimento al verso della corrente nel circuito) sia della bobina amperometrica del wattmetro che dell'amperometro. Con questa inserzione la corrente nel wattmetro è la stessa del carico, mentre la tensione che agisce sui circuiti voltmetrici è diversa dalla applicata al carico.

La potenza attiva assorbita dal carico vale :

La potenza misurata dal wattmetro vale :

Dove RAT = RA + RAW [W] è la resistenza serie totale degli equipaggi amperometrici. La potenza PAA = RAT·I2 [W] rappresenta l'autoconsumo del sistema amperometrico di misura e deve essere detratta dalla potenza misurata per avere la potenza al carico :


Conseguentemente, se si assumesse Pm come potenza al carico, si commetterebbe un errore sistematico pari a :

Si osserva che tale errore è tanto minore quanto più piccolo è il valore della caduta di tensione VAT rispetto alla tensione V del circuito, quindi questo schema è particolarmente indicato per circuiti con correnti piccole e tensioni elevate. In ogni caso l'errore si fa tanto più grande quanto più piccolo è il f.d.p. del carico.

Il voltmetro indica una tensione Vm diversa dalla tensione V applicata al carico. Posto:

si dimostra che è :



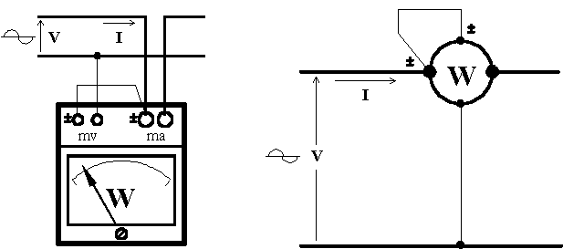
Inserzione con le voltmetriche a valle

L'inserzione è così chiamata perché il voltmetro e l'equipaggio voltmetrico del wattmetro sono derivati a valle (con riferimento al verso della corrente nel circuito) sia della bobina amperometrica del wattmetro che dell'amperometro. Tale inserzione è preferita essendo la resistenza interna degli equipaggi voltmetrici nota con più precisione di quella degli equipaggi amperometrici.

Con questa inserzione la tensione che agisce sui circuiti voltmetrici è la stessa applicata al carico, mentre la corrente nei circuiti amperometrici differisce da quella del carico.


Applicando il primo principio di Kirchhoff risulta infatti essere :


La potenza attiva assorbita dal carico vale :

La potenza misurata dal wattmetro vale :

Dove RVT = RA // RAW [W] è la resistenza parallelo degli equipaggi voltmetrici. La potenza rappresenta l'autoconsumo del sistema voltmetrico di misura e deve essere detratta dalla potenza misurata per avere la potenza al carico :


Conseguentemente, se si assumesse Pm come potenza al carico, si commetterebbe un errore sistematico pari a :

Si osserva che tale errore è tanto minore quanto più grande è il prodotto (RVT·I) rispetto alla tensione V del circuito, quindi questo schema è particolarmente indicato per circuiti con correnti elevate e tensioni piccole. In ogni caso l'errore si fa tanto più grande quanto più piccolo è il f.d.p. del carico.

L'amperometro indica una corrente Im diversa dalla corrente I assorbita dal carico. Posto:

si dimostra che è :

Misure elettriche
Programma per la classe terza
Home Page